
|
型号
|
分度号
|
测温范围℃
|
精度等级
|
允许偏差
|
|
HD-WZP
|
Pt100
|
-200~+500
|
A级
|
±(0.15+0.002|t|)
|
|
HD-WZC
|
Cu50
|
|
B级
|
±(0.30+0.005|t|)
|
|
|
Cu100
|
-50~+100
|
-
|
±(0.30+0.006|t|)
|
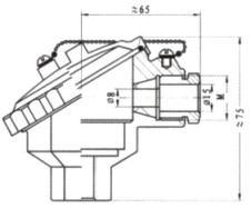
![]() 防喷式 |
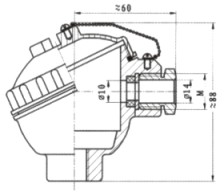
![]() 防水式 |
|
W
|
温度仪表
|
||||||||
|
|
|
||||||||
|
|
| | | | | | | | | | | | | | | | | | | | | | | | | | | | | | | | |
Z
|
热电阻
|
|||||||
|
|
|
||||||||
|
|
| | | | | | | | | | | | | | | | | | | | | | | | | | | | | | |
感温元件材料 分度号
|
||||||||
|
P
C |
铂 Pt100
铜 Cu50 |
||||||||
|
|
| | | | | | | | | | | | | | | | | | | | | | | | | | | |
铂电阻元件
|
||||||||
|
无
2 |
单支
双支 |
||||||||
|
|
| | | | | | | | | | | | | | | | | | | | | | | |
|
安装固定形式
|
|||||||
|
1
2 3 4 5 6 |
无固定装置
固定螺纹 活动法兰 固定法兰 活络管接头式 固定螺纹锥形式 |
||||||||
|
|
| | | | | | | | | | | | | | | |
接线盒形式
|
||||||||
|
2
3 |
防喷式
防水式 |
||||||||
|
|
| | | | | | | | | | | |
保护管直径
|
||||||||
|
0
1 |
Φ16
Φ12 |
||||||||
|
|
| | | | | | | | |
工作端形式
|
||||||||
|
G
|
变截面
|
||||||||
|
| | | | | | | |
|
||||||||
|
HD-W
|
Z
|
P
|
2
|
——
|
2
|
2
|
0
|
G
|
典型型号示例
|
|
序号
|
形式
|
保护管材质
|
公称压力
|
热响应时间
|
备注
|
|
1
|
无固定
|
1Cr18Ni9Ti
|
常压
|
<90S
|
保护管外径为Φ16、Φ12两种具体要求双方协商而定
|
|
2
|
固定螺纹
|
≤10MPa
|
|||
|
3
|
活动法兰
|
常压
|
|||
|
4
|
固定法兰
|
≤2.5MPa
|
|||
|
5
|
活络管接头式
|
常压
|
|||
|
6
|
固定螺纹锥形式
|
≤30MPa
|
|||
|
7
|
直形管接头式
|
常压
|
|||
|
8
|
固定螺纹管接头式
|
||||
|
9
|
活动螺纹管接头式
|

|
材质
|
使用温度
|
特点及用途
|
|
1Cr18Ni9Ti
|
-200~800
|
具有高温耐蚀性,通常作为一般热钢使用
|
|
304
|
-200~800
|
低碳含量,具有良好耐晶间腐蚀性,通常作为一般耐热钢使用
|
|
316
|
-200~750
|
低碳含量,具有良好耐晶间腐蚀性,作为耐腐蚀钢使用
|
|
316L
|
-200~750
|
超低碳含量,具有良好耐晶间腐蚀性,作为耐腐蚀钢使用
|
|
310S
|
-200~1000
|
具有高温抗氧化性,耐腐蚀型通常作为热钢使用
|
|
GH3030
|
0~1100
|
镍基高温合金钢,具有优良抗氧化性,耐腐蚀型,通常作为耐热钢使用
|
手 机:13337963090
固定电话:0517-86500336 86500226
邮 箱:jshdyb@163.com
公司地址:江苏省金湖县工业园区
ICP备案号:苏ICP备10202569号-9